Le mois dernier, des internautes mettaient la main sur un premier brevet de Sony, qui avait pour objectif d’exploiter l’intelligence artificielle afin de censurer en direct les jeux, par rapport au contenu violent, les scènes de sexe, ou bien d’autres choses dans les jeux vidéo. Aujourd’hui, un nouveau brevet, nommé « Ghost Player », semblerait indiquer que Sony travaille sur un concept permettant à un joueur fantôme de jouer à votre place, pour avancer dans un jeu si vous êtes bloqués.
Votre console peut-elle jouer à votre place ?

On a tous connu ce moment assez frustrant où, dans un jeu, ça ne veut pas et un passage reste impossible à passer. Si bien, que nous avons été découragés et nous avons abandonné le jeu. Sony semble vouloir travailler sur cette problématique permettant aux joueurs de passer un moment trop compliqué, avec l’aide de l’IA.
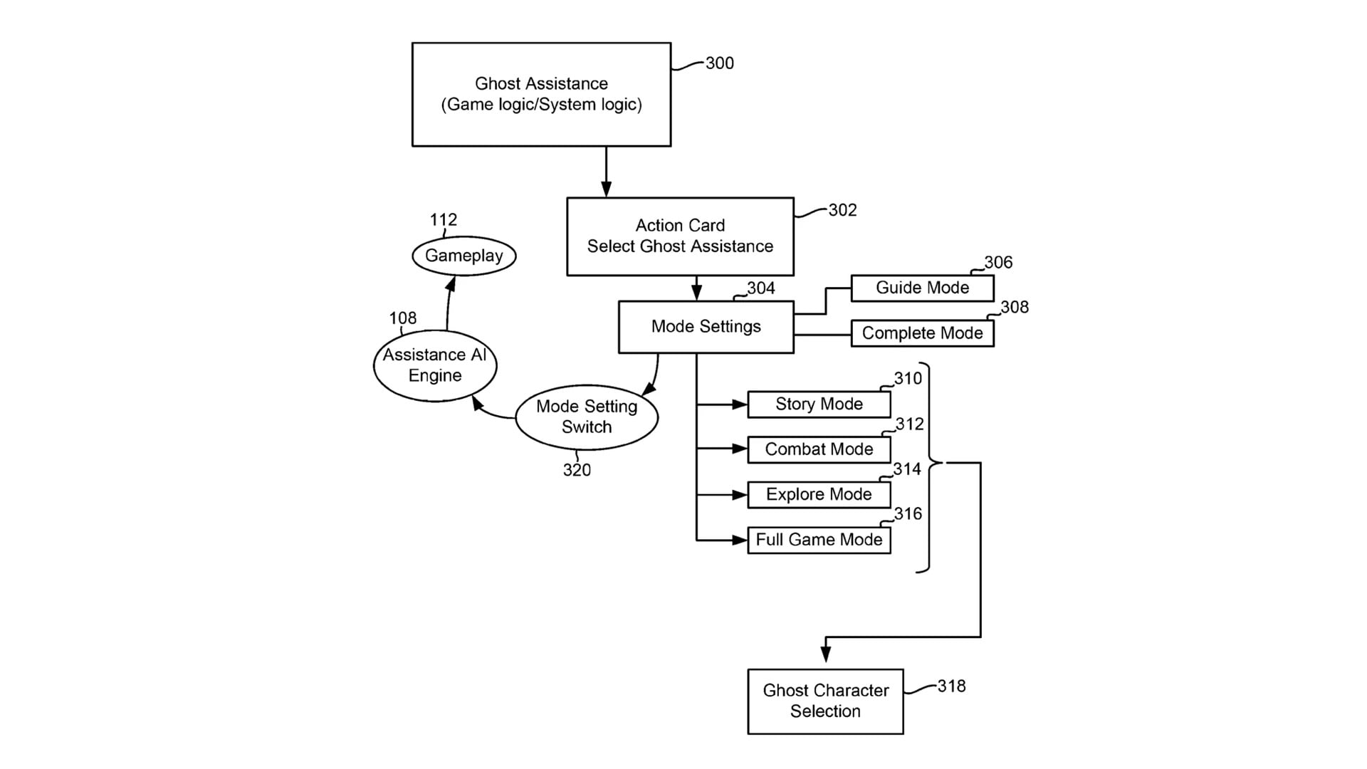
Le brevet date de septembre 2024, mais son état fut mise à jour cette semaine par l’Organisation mondiale de la propriété intellectuelle. Laissant sous-entendre qu’il était toujours d’actualité. Selon les premiers détails, le brevet permettrait d’invoquer une version « fantôme » générée par l’IA du personnage du joueur. À partir de là, deux options pourraient s’offrir au joueur : le « Mode Guide » et le « Mode Terminer ».
Le « Mode Guide » permettrait au fantôme de nous montrer la solution à suivre (pour retrouver notre chemin dans un niveau, par exemple). Tandis que le « Mode Terminer » serait carrément une prise en main de l’IA qui terminerait la section actuelle pour débloquer le joueur (face à une énigme trop complexe, un ennemi trop puissant, etc…).

Visiblement, ce brevet ne serait pas une vraie nouveauté, mais plutôt un prolongement de l’assistance mise en place par Sony avec le lancement de la PS5, permettant de découvrir certaines solutions sur les jeux compatibles. Ce système pouvait fournir aux joueurs des indications, sous forme d’images ou de vidéos, via le système de cartes PS5, consultables en jeu.
Encore une fois et comme avec le brevet sur la censure en direct, il est important de préciser qu’à ce jour, rien ne confirme que cette technologie sera utilisée par Sony plus tard. Comme de nombreux projets dans la Tech, les sociétés déposent des brevets sur des technologies et des fonctionnalités en test, mais toutes ne finissent pas par être exploitées. Il en est de même pour celle-ci, bien que cela reste intéressant de voir Sony travailler sur cela.
🟣 Pour ne manquer aucune news sur le Journal du Geek, suivez-nous sur Google et sur notre canal WhatsApp. Et si vous nous adorez, on a une newsletter tous les matins.